Product Summary
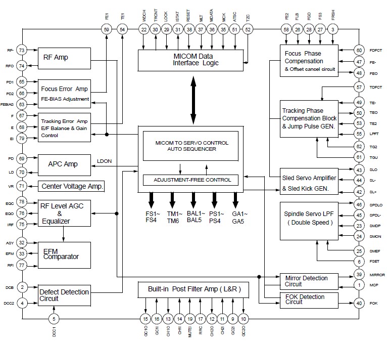
The S1L9223B01-Q0R0 is a 1-chip BICMOS integrated circuit to perform the function of RF amp and servo signal processor for compact disc player applications. The S1L9223B01-Q0R0 consists of blocks for RF signal processing, focus, tracking, sled and spindle servo. Also this IC has adjustment free function and embedded OP-AMP for audio post filter.
Parametrics
S1L9223B01-Q0R0 absolute maximum ratings: (1)Supply Voltage VMAX: 6 V; (2)Power Dissipation PD: 200 mW; (3)Operating Temperature TOPR: -20 to + 70 ℃; (4)Storage temperature TSTG: -55 to + 150 ℃.
Features
S1L9223B01-Q0R0 features: (1)RF amplifier & RF equalizer; (2)Focus error amplifier & servo control; (3)Tracking error amplifier & servo control; (4)Mirror & defect detector circuit; (5)Focus OK detector circuit; (6)APC (Auto Laser Power Control) circuit for constant laser power; (7)FE bias & focus servo offset adjustment free; (8)EF balance & tracking error gain adjustment free; (9)Embedded audio post filter; (10)The circuit for Interruption countermeasure; (11)Double speed play available; (12)Operating voltage range: S1L9223B01: 5V.
Diagrams

![]() |
![]() S1L9251X |
![]() Other |
![]() |
![]() Data Sheet |
![]() Negotiable |
|
||||
![]() |
![]() S1L9226X |
![]() Other |
![]() |
![]() Data Sheet |
![]() Negotiable |
|
||||
![]() |
![]() S1L9225X |
![]() Other |
![]() |
![]() Data Sheet |
![]() Negotiable |
|
||||
![]() |
![]() S1L9223B02 |
![]() Other |
![]() |
![]() Data Sheet |
![]() Negotiable |
|
||||
![]() |
![]() S1L9223B01-QO |
![]() Other |
![]() |
![]() Data Sheet |
![]() Negotiable |
|
||||
![]() |
![]() S1L9223B01 |
![]() Other |
![]() |
![]() Data Sheet |
![]() Negotiable |
|
||||
(Hong Kong)








