Product Summary
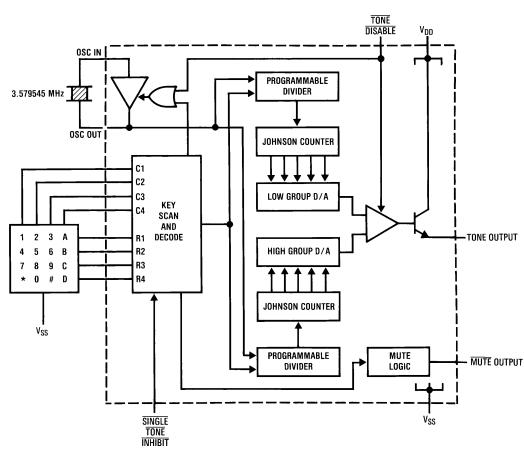
The TP5089N is a low threshold voltage, field-implanted, metal gate CMOS Generator. The TP5089N interfaces directly to a standard telephone keypad and generates all dual tone multi-frequency pairs required in tone-dialing systems. The TP5089N is locked to an on-chip reference oscillator using an inexpensive 3.579545 MHz crystal for high tone accuracy. The crystal and an output load resistor are the only external components required for tone generation. A MUTE OUT logic signal, which changes state when any key is depressed, is also provided.
Parametrics
TP5089N absolute maximum ratings: (1)Supply Voltage (VDD-VSS):15V; (2)Maximum Voltage at Any Pin:VDD+0.3V to VSS-0.3V; (3)Operating Temperature:-30℃ to +60℃; (4)Storage Temperature:-55℃ to +150℃; (5)Maximum Power Dissipation:500 mW.
Features
TP5089N features: (1)3.5V to 10V operation when generating tones; (2)2V operation of keyscan and MUTE logic; (3)Static sensing of key closures or logic inputs; (4)On-chip 3.579545 MHz crystal-controlled oscillator; (5)Output amplitudes proportional to supply voltage; (6)High group pre-emphasis; (7)Low harmonic distortion; (8)Open emitter-follower low-impedance output; (9)SINGLE TONE INHIBIT pin.
Diagrams

| Image | Part No | Mfg | Description | ![]() |
Pricing (USD) |
Quantity | ||||
|---|---|---|---|---|---|---|---|---|---|---|
![]() |
![]() TP5089N |
![]() Other |
![]() |
![]() Data Sheet |
![]() Negotiable |
|
||||
| Image | Part No | Mfg | Description | ![]() |
Pricing (USD) |
Quantity | ||||
![]() |
![]() TP5089N |
![]() Other |
![]() |
![]() Data Sheet |
![]() Negotiable |
|
||||
![]() |
![]() TP5089WM |
![]() Other |
![]() |
![]() Data Sheet |
![]() Negotiable |
|
||||
![]() |
![]() TP5094 |
![]() Other |
![]() |
![]() Data Sheet |
![]() Negotiable |
|
||||
![]() |
![]() TP50981 |
![]() Other |
![]() |
![]() Data Sheet |
![]() Negotiable |
|
||||
![]() |
![]() TP5089 |
![]() Other |
![]() |
![]() Data Sheet |
![]() Negotiable |
|
||||
![]() |
![]() TP5088N |
![]() Other |
![]() |
![]() Data Sheet |
![]() Negotiable |
|
||||
(Hong Kong)









