Product Summary
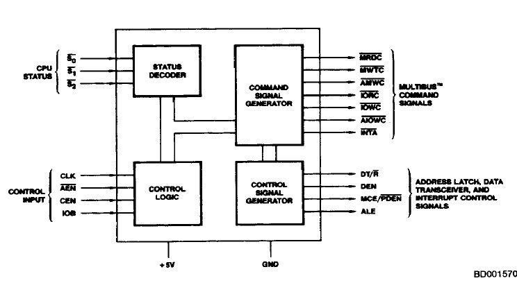
The D8288 optimizes 8086 or 8088 operations by providing command and control timing generation when the CPU is in maximum mode. It provides for highly flexible configurations for larger system.
Parametrics
D8288 absolute maximum ratings: (1)Storage temperature: -65℃ to 150℃ ; (2)Temperature Under Bias: 0℃ to 70℃; (3)All Output and Supply voltages: -0.5 to 7.0V ; (4)All input voltage: -1.0V to 5.5V; (5)Power Dissipation: 1.5W.
Features
D8288 features: (1)Bipolar drive capability; (2) three state output drivers; (3)Multi master or I/O bus interface; (4)Flexible system configurations.
Diagrams

![]() |
![]() D828C20C0KL63J5R |
![]() |
![]() CAP CER 0.82PF 500V RADIAL |
![]() Data Sheet |
![]()
|
|
||||||
![]() |
![]() D828C20C0KL65J5R |
![]() |
![]() CAP CER 0.82PF 500V RADIAL |
![]() Data Sheet |
![]()
|
|
||||||
![]() |
![]() D828C20C0KL6TJ5R |
![]() |
![]() CAP CER 0.82PF 500V RADIAL |
![]() Data Sheet |
![]()
|
|
||||||
![]() |
![]() D828C20C0KL6UJ5R |
![]() |
![]() CAP CER 0.82PF 500V RADIAL |
![]() Data Sheet |
![]()
|
|
||||||
(Hong Kong)








